連結1
|
連結2
關於公會
公會介紹
工作項目
組織與任務
幹部名錄
現任名錄
歷任名錄
會員名冊
會員專區
活動看板
不良客戶名單
聯絡我們
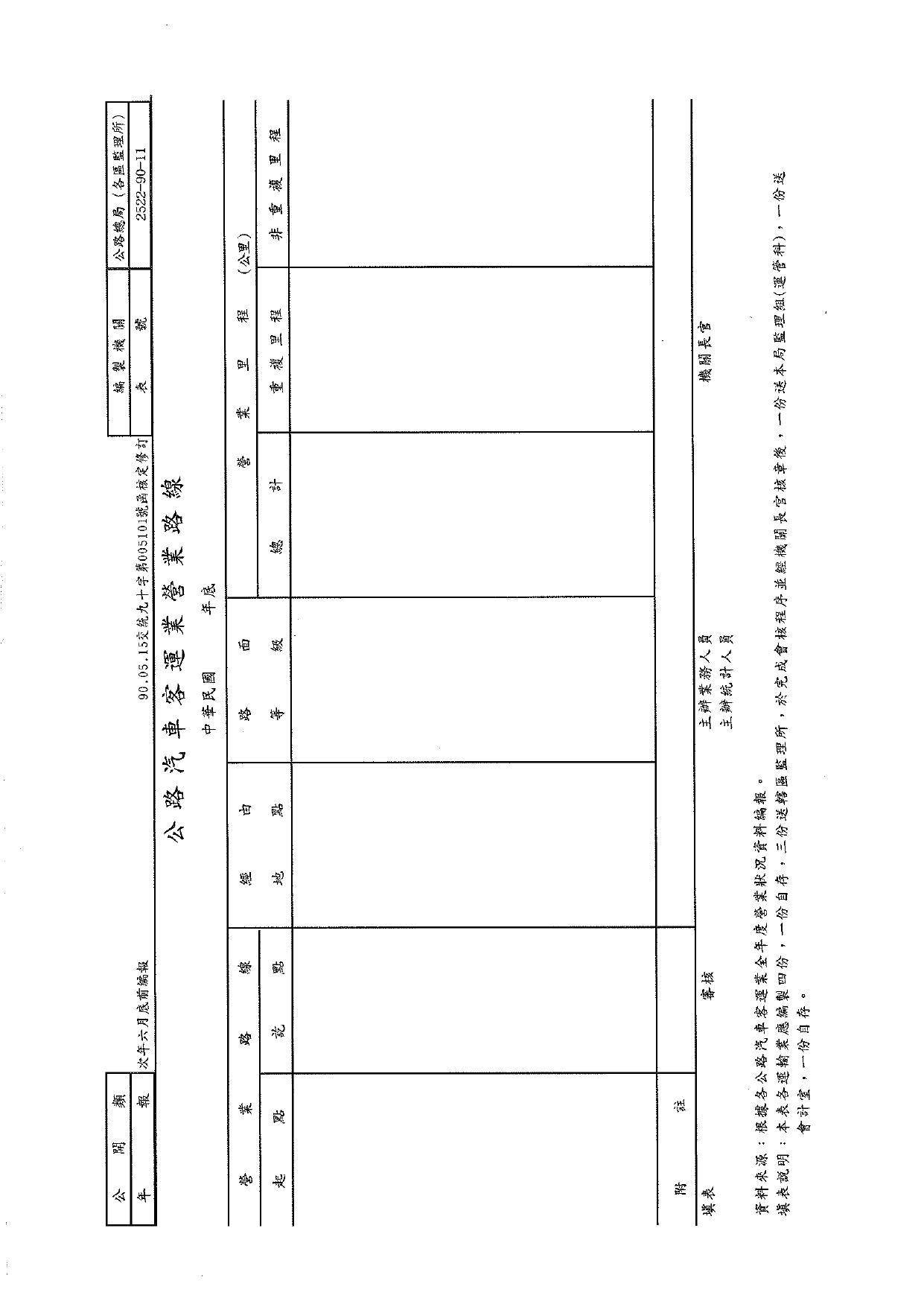
運輸業年度報告書
首頁
|
活動看板
活動看板
回上層